Технические условия ГОСТ 17314-81

Характеристики
Оставьте заявку, и наши менеджеры свяжутся с вами в ближайшее время. Мы внимательно изучим ваши задачи и потребности, чтобы подготовить оптимальное решение и расчет стоимости. Консультация и расчет абсолютно бесплатны.

Описание

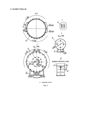
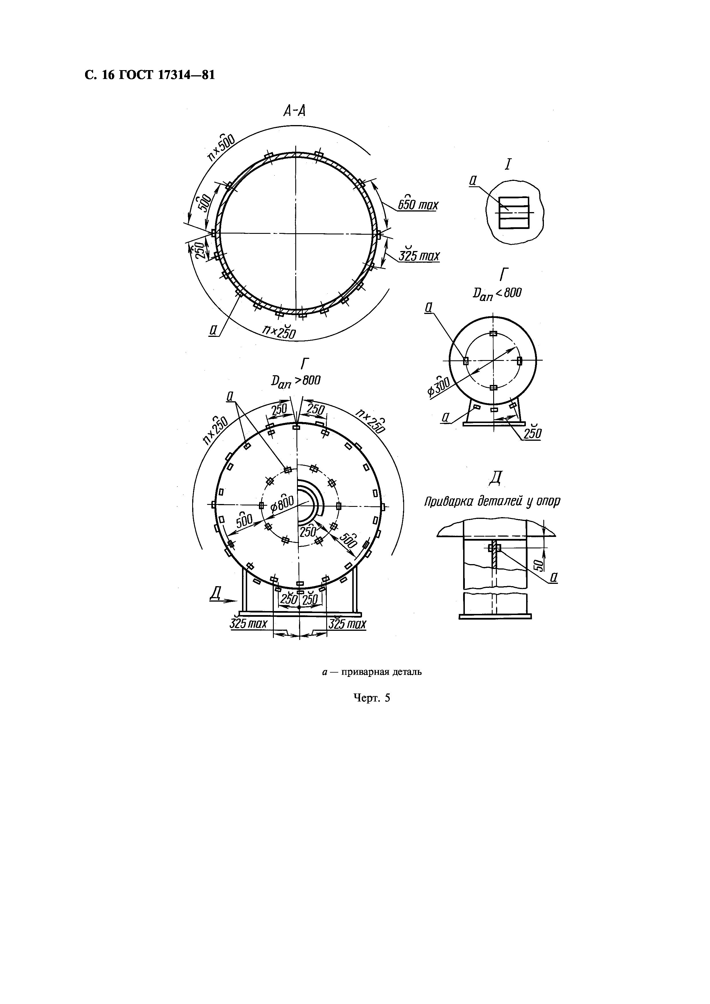
ГОСТ 17314-81 определяет конструкцию, размеры и технические требования к устройствам (штырям, крюкам), предназначенным для крепления тепловой изоляции на стальных стационарных сосудах и аппаратах. 

Примеры наших работ